>点击下载辅助<
>点击购买辅助<
更新时间:2025-03-04
三角洲侧向红点瞄准镜怎么用的(详细教我一下三角洲侧向红点瞄准镜的使用)
三角洲侧向红点瞄准镜的使用方法可分为安装、设置及实战操作三个部分,具体如下:

一、安装侧瞄镜
- 装备安装
在游戏中需确保武器已装配侧置全景红点瞄准镜,通常需通过武器改装界面完成。
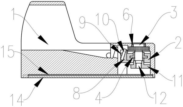
(现实操作:若涉及真实步枪安装,需打开左侧盖子,拉出激光全息侧瞄并沿导轨推进至合适位置,调节螺丝校准准星后固定。)
二、游戏内设置
- 进入设置界面
在游戏主界面或对局中暂停,点击右上角“设置”→“控制”→“瞄准设置”。 - 选择切换模式
- 按住模式:长按瞄准键(默认左键)启用侧瞄镜。
- 切换模式:单击瞄准键即可在侧瞄和主瞄之间切换。
- 自定义快捷键
可在“按键设置”中将侧瞄切换键修改为习惯的按键(如“V”键或“左Shift”)。
三、实战操作技巧
- 基础切换
- 开镜后,通过预设的快捷键(如“V”键)快速切换主/侧瞄镜。
- 部分视角需先按“Tab”切换至第一人称,再按“左Shift”切换侧边视角。
- 效率优化
- 启用一键开镜功能,在按键设置中选择“全部开启”模式,缩短操作时间。
- 开镜过程中可直接射击,利用电脑屏幕准心辅助瞄准。
- 场景适配
- 近距离战斗优先使用侧瞄镜(红点视野更开阔),中远距离切换主瞄镜(高倍率)。
注意事项
- 建议在训练场反复练习切换操作,提升熟练度。
- 若侧瞄镜未生效,需检查是否安装正确或快捷键冲突。
(注:以上内容默认针对游戏内操作,现实武器使用需遵循专业指导。)
上一篇: 上一篇:三角洲使用方案怎么使用(三角洲方案使用教程视频})
下一篇: 下一篇:三角洲侧瞄具如何用(给我三角洲侧瞄具的使用视频教程)